
2020-06-15
近期越来越多的实验室小伙伴开始关注栓剂的检测方法,小编整理了相关资料和产品,在本文中为大家作简单介绍。

栓剂是指原料药物与适宜基质制成供腔道给药的固体制剂,原料药与基质应混合均匀,根据需要可加入表面活性剂、稀释剂、润滑剂和抑菌剂等。其外形应完整光滑,放入腔道后应无刺激性,应能融化、软化或溶化,逐渐释放出药物,产生局部或全身作用。
各国药典对栓剂检查项目的要求一般有溶出度,融变时限和软化时间等项目。
中国药典和欧洲药典提到了栓剂的融变时限(中国药典0922和欧洲药典2.9.2)和软化时间(2.9.22)的检查要求。
亲水性栓剂的药物释放速率(溶出度)可使用在美国药典

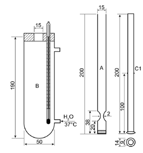
栓剂的融变时限检查装置示意图
方法对应的Copley SDT1000 栓剂融变时限测试仪如下图所示:


栓剂的软化时间检查的一种装置示意图

安装软化时间测试装置的Copley SDT1000 栓剂测试仪


栓剂溶出度的一种测试方法是采用栓剂蓝法,采用与药典标准相同的转篮规格,栓剂溶出篮提供了与10目转篮相同的孔隙率,使栓剂溶出度试验能够顺利进行,如下图所示为Copley溶出仪DIS 800i和栓剂篮。


了解更多内容,欢迎联系線上賭場销售人员或拨打400-810-6969服务热线,我们将耐心地为您服务。